
产品分类
Products
更新时间:2026-04-07
浏览次数:75一体式风速风向传感器建筑通风—测量建筑风速和风向为通风设计提供支持【型号推荐:TH-FS,气象环境监测仪器设备生产厂家,云境天合支持商家定制服务,设备选择山东云境天合您放心】气象监测为气象站提供实时风速风向数据,支持天气预报和气候分析。气象卫星地面接收站利用数据完善气象模型,提高预报准确性。新能源开发风力发电实时监测风速变化,为风机功率调节和叶片角度调整提供依据,提升发电效率。光伏发电监测风向以优化光伏板角度,减少风载损伤。航空与航海安全航空机场跑道周边部署传感器,实时提供风速风向数据,帮助塔台判断飞机起降条件。船长利用数据规划航行路线,避免大风等恶劣天气影响。 环境监测与生态保护监测空气流动和污染物扩散方向,为环保部门提供数据支持。例如,在自然保护区部署传感器,评估生态保护效果。化工园区监测有害气体扩散路径,预防环境污染事故。 农业与建筑领域农业农民根据风速风向数据优化灌溉和施肥方案,提升作物产量。例如,农业大棚内安装传感器,实时监测生长环境变化。建筑监测高层建筑周围风速,评估结构安全,优化通风设计。

一、技术指标
供电:DC12V
工作环境:-40~70℃,湿度≤100%无凝露
通信接口:RS485
工作电流:55mA DC12V
启动风速:0.5m/s
最短数据间隔:0.5S
壳体材料:高分子工程塑料
二、传感器参数
| 参数 | 测量范围 | 分辨率 | 精度 |
| 风速 | 0-60m/s | 0.01m/s | ±0.2m/s |
| 风向 | 0-360度 | 0.1度 | ±1度 |
| 平均风速☆ | 0-60m/s | 0.01m/s | ±0.2m/s |
| 瞬时风力 | 0-12 | 1 | 1 |
| 平均风力 | 0-12 | 1 | 1 |
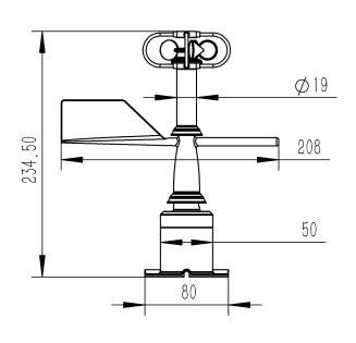
三、外观尺寸

四、安装要求

安装时底座箭头N的方向需指向正北方向(如上图所示)